This article mainly introduces Caterpillar 325F L Excavator Bucket – Remove and Install Guide
10.2021 Caterpillar SIS EPC+Service Manual download & Full Installation Service
SMCS Code: 6001-012; 6001-011; 6001; 6101;
6102; 6523
Captured Flag
Failure to follow the instruction below for the installation of a work tool may result in personal injury or death. Special care must be taken if more
than one person is installing the work tool.
Confirm the verbal communication and the
hand signals that will be used during the
installation.
Be alert for sudden movement of the front linkage and the work tool.
Do not insert fingers into the bores of the support pins when the support pins and the bores
are being aligned.
NOTICE
To facilitate removal of the bucket pins without causing damage to the pins, the bearings, and/or the Oring seals put the bucket on the floor and the stick in
a vertical position, as shown.
Removal Procedure
1. Start the engine. Park the machine on a hard, level
surface. Position the bucket, the stick, and the
bucket control linkage, as shown. Shut off the
engine.
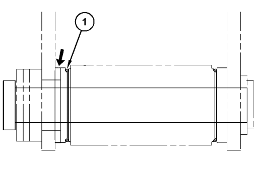
2. Slide O-ring seals (1) off the pin joints and onto the
flanges of the bucket.
When the pin assembly is removed, the linkage
assembly may swing out of the bucket. To prevent possible personal injury, do not stand in
front of the linkage assembly when the pin assembly is being removed.
Note: Removing the support pin may be difficult due
to excessive pressure on the support pin. Remove
the pressure on the support pin by adjusting the front
linkage.
Caterpillar CAT Factory Password Calculator Generator 10 Digits VM Version
3. Remove bolts (2) and retaining plates (3). Then
remove support pin (4) and support pin (5).
4. Start the engine and raise the stick out of the
bucket.
5. Remove the O-ring seals (1) from the flanges on
the bucket.
Note: After the support pins have been removed,
make sure that the support pins do not become
contaminated with sand or dirt. Make sure that the
seals on the end of the stick and the seals on the end
of the link do not become damaged.
Installation Procedure
1. Clean each pin and each pin bore. Lubricate each
pin bore with molybdenum grease.
2. Position the O-ring seals (1) onto the flanges of the
bucket.
3. Start the engine and lower the stick into the bucket
until the pin bores are in alignment with each
other. Stop the engine.
4. Insert support pin (5) into the pin bore. Make sure
that the flange of the support pin rest inside the
support on the side of the bucket.
5. Refer to Operation and Maintenance Manual,
“Bucket Linkage – Inspect/Adjust” in order to adjust
the bucket clearance.
6. Install retaining plate (3). Install bolts (2). Tighten
bolts (2) evenly.
7. Slide O-ring seals (1) in position over the pin joints
between the bucket and the stick.
8. Start the engine and position the bucket linkage
into the bucket until the pin bores are in alignment
with each other. Stop the engine.
9. Insert support pin (4) into the pin bore. Make sure
that the flange of the support pin rest inside the
support on the side of the bucket.
10. Install retaining plate (3). Install bolts (2). Tighten
bolts (2) evenly.
11. Slide the O-ring seals (1) over the pin joints
between the bucket and the link assembly
Caterpillar Flash Files 2021.07 (Full Set)
12. Lubricate the bucket pins. Refer to Operation and
Maintenance Manual, “Bucket Linkage – Lubricate”
or Operation and Maintenance Manual, “Boom,
Stick, and Bucket Linkage – Lubricate”.




